HOME-Au
HOME-Au
24h
24h
USA
USA
GOP
GOP
Phim Bộ
Phim Bộ
Videoauto
VIDEO-Au
Home Classic
Home Classic
Donation
Donation
News Book
News Book
News 50
News 50
worldautoscroll
WORLD-Au
Breaking
Breaking
 

Go Back   VietBF > Other News|Tin Khác > Mobile News|Tin Di Động


Reply
 
Thread Tools
  #1  
Old  Default Vuốt ở cạnh là cách dùng iPhone theo kiểu mới được Apple đăng ký trong bằng sáng chế
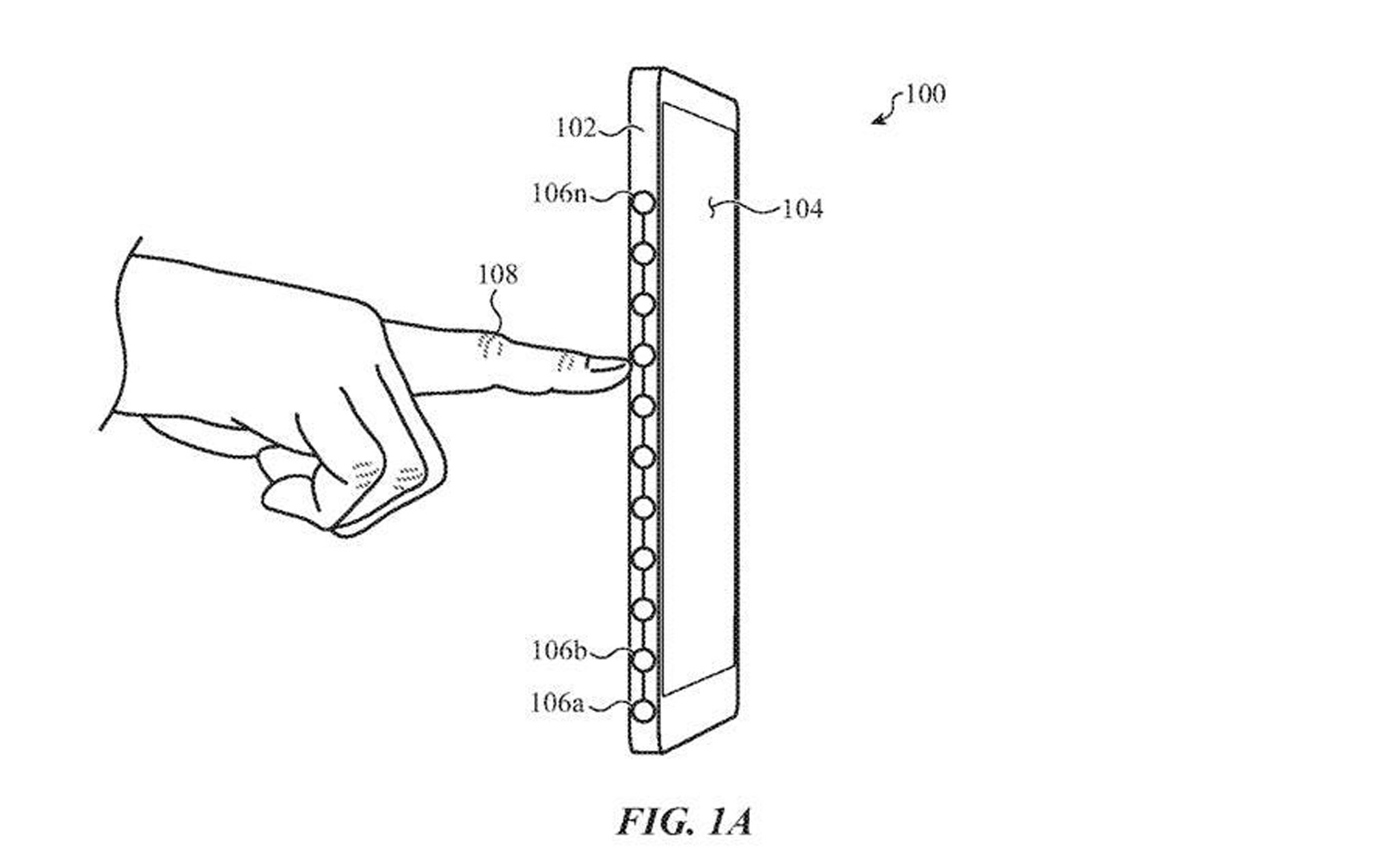
Theo một bằng sáng chế phát hiện bởi Palently Apple. IPhone trong tương lai có thể được sử dụng theo một cách mới mẻ như có thể vuốt cảm ứng ở cạnh bên. Cảm biến này sẽ giúp người dùng cuộn trang mà không cần dùng ngón tay thao tác trên màn hình như cảm ứng hiện tại.

Thay vì sử dụng iPhone như cách truyền thống hàng thập kỷ nay, có khả năng Apple sẽ đầu tư nguồn lực để tìm ra các cách thức sử dụng iPhone mới mẻ, sáng tạo hơn. Việc thực hiện vuốt để cuộn trang ở cảm biến cạnh bên, có thể hạn chế tình trạng ngón tay chiếm tầm nhìn màn hình cũng như bớt dấu vân tay trên màn hình.



Có thể ý tưởng này sẽ được Apple Pencil ứng dụng trước thông qua tính năng Force Touch. Khi đó nếu dùng bút ấn mạnh màn hình sẽ phản ứng như chuyển sang tối màu, tô màu hoặc vẽ nét dày. Apple Pencil hiện chỉ hoạt động với iPad nên không rõ liệu bằng sáng chế này có dẫn đến khả năng trong tương lai nó sẽ tương thích với iPhone hay không.

Theo bằng sáng chế, cách thức điều khiển iPhone mới này sẽ dùng nguồn sáng laser như là công nghệ VCSEL laser chiếu ánh sáng vào ống dẫn sóng. Ở tại một vị trí phát hiện tín hiệu nào đó, khi hành động chạm hoặc có lực tác động vào cảm biến, hiện tượng biến đổi ánh sáng sẽ xảy ra và được đưa vào ống dẫn sóng, tín hiệu được ghi nhận và khi đó điện thoại sẽ phản hồi. Tức là cách tương tác với điện thoại cảm ứng sẽ không còn bị hạn chế, kể cả đeo găng tay điện thoại cũng nhận được tín hiệu thông qua cảm biến diode laser.

Trước ý tưởng của Apple đã có nhiều thương hiệu di động sử dụng cạnh bên điện thoại để tương tác với thiết bị. Chẳng hạn như HTC đã từng làm cảm biến lực ở cạnh hay Sony có thể hiện thị menu bằng cách dùng các cử chỉ cạnh bên.
Dịch trang: EnglishEnglish DeutschDeutsch FrançaisFrançais EspañolEspañol ItalianoItaliano PortuguêsPortuguês
NorskNorsk NederlandsNederlands DanskDansk SuomiSuomi PolskiPolski ČeštinaČeština РусскийРусский
日本語日本語 한국어한국어 中文(简体)中文(简体) 中文(繁體)中文(繁體) MagyarMagyar TürkçeTürkçe
العربيةالعربية ไทยไทย LatinaLatina हिन्दीहिन्दी Bahasa IndonesiaBahasa Indonesia Bahasa MelayuBahasa Melayu
VIETBF Diễn Đàn Hay Nhất Của Người Việt Nam

HOT NEWS 24h

HOT 3 Days

NEWS 3 Days

HOT 7 Days

NEWS 7 Days

HOME

Breaking News

VietOversea

World News

Business News

Car News

Computer News

Game News

USA News

Mobile News

Music News

Movies News

History

Thơ Ca

Sport News

Stranger Stories

Comedy Stories

Cooking Chat

Nice Pictures

Fashion

School

Travelling

Funny Videos

Canada Tin Hay

USA Tin Hay

VietBF Homepage Autoscroll

VietBF Video Autoscroll Portal

Super Widescreen

Home Master Page

VietBF iPad Music Portal

Tin nóng nhất 50h qua

Phim Bộ Online

Phim Bộ
Dịch trang: English | Deutsch |
Français | Español | Italiano |
Português | Norsk | Nederlands |
Dansk | Suomi | Polski |
Čeština | Русский | 日本語 |
한국어 | 中文(简体) | 中文(繁體) |
Magyar | Türkçe | العربية |



nguoiduatinabc
R10 Vô Địch Thiên Hạ
Release: 07-26-2022
Reputation: 22142


Profile:
Join Date: Apr 2016
Posts: 81,960
Last Update: None Rating: None
Attached Thumbnails
Click image for larger version

Name:	6065779_bang-sang-che-Apple.jpg
Views:	0
Size:	102.9 KB
ID:	2087992  
nguoiduatinabc_is_offline
Thanks: 168
Thanked 5,406 Times in 4,381 Posts
Mentioned: 4 Post(s)
Tagged: 0 Thread(s)
Quoted: 29 Post(s)
Rep Power: 92
nguoiduatinabc Reputation Uy Tín Level 7nguoiduatinabc Reputation Uy Tín Level 7
nguoiduatinabc Reputation Uy Tín Level 7nguoiduatinabc Reputation Uy Tín Level 7nguoiduatinabc Reputation Uy Tín Level 7nguoiduatinabc Reputation Uy Tín Level 7nguoiduatinabc Reputation Uy Tín Level 7nguoiduatinabc Reputation Uy Tín Level 7nguoiduatinabc Reputation Uy Tín Level 7nguoiduatinabc Reputation Uy Tín Level 7nguoiduatinabc Reputation Uy Tín Level 7nguoiduatinabc Reputation Uy Tín Level 7nguoiduatinabc Reputation Uy Tín Level 7nguoiduatinabc Reputation Uy Tín Level 7nguoiduatinabc Reputation Uy Tín Level 7
Dịch trang: EnglishEnglish DeutschDeutsch FrançaisFrançais EspañolEspañol ItalianoItaliano PortuguêsPortuguês
NorskNorsk NederlandsNederlands DanskDansk SuomiSuomi PolskiPolski ČeštinaČeština РусскийРусский
日本語日本語 한국어한국어 中文(简体)中文(简体) 中文(繁體)中文(繁體) MagyarMagyar TürkçeTürkçe
العربيةالعربية ไทยไทย LatinaLatina हिन्दीहिन्दी Bahasa IndonesiaBahasa Indonesia Bahasa MelayuBahasa Melayu
Reply

User Tag List


Trump tung “đòn thuế 25%” nhắm Iran: Trung Quốc, Ấn Độ và cả thế giới bị kéo vào vòng xoáy mới Sell America” trở lại vì vụ điều tra Powell: chứng khoán phục hồi lập đỉnh, nhưng USD rớt và vàng–bạc bùng nổ Tin động trời: Loại vũ khí âm thanh chưa từng có trong chiến dịch của Mỹ ở Venezuela
Cúm H3N2 “subclade K” tràn khắp nước Mỹ: bệnh viện quá tải, trẻ em tử vong tăng, sởi tái bùng phát Trường Quốc tế Mỹ AISVN bị giải thể: cái kết sau nửa năm đình chỉ và khủng hoảng tài chính kéo dài Dân Biểu Derek Trần vận động hơn $2 triệu ngân sách liên bang cho Orange County
Mỹ có thể sắp có nữ đại sứ đầu tiên tại Hà Nội (gốc Hàn Quốc) Iran chìm trong “đêm đen liên lạc”: gần 500 người chết, Trump nói Tehran gọi đàm phán nhưng Mỹ vẫn tính phương án mạnh Ba mặt trận ngoại giao cùng lúc: Greenland, xe điện và cái bắt tay Nhật–Hàn dưới bóng Trung Quốc
Trung Quốc “khóa van” đất hiếm với Nhật: Đòn trả đũa vì Taiwan, căng thẳng châu Á leo thang Maduro và vợ bị thương khi tháo chạy: Lộ chi tiết “cửa thép khung thấp”, Delta sơ cứu tại chỗ Maduro vừa gọi Tập “anh cả” thì bị Delta bắt ngay trong đêm: Bắc Kinh choáng váng, Weibo bùng nổ, Đài Loan bị kéo vào cuộc
Lên iOS 26 thấy iPhone tụt pin nhanh: những “thủ phạm thầm lặng” Sau vụ bắt Maduro, Trump rải “tối hậu thư” khắp bán cầu: Greenland, Colombia, Mexico, Cuba, Iran đồng loạt phản ứng Hegseth “ra đòn” với Thượng nghị sĩ Mark Kelly: cắt lương hưu, gửi thư khiển trách vì video “từ chối lệnh bất hợp pháp”
Song tịch: tấm “bảo hiểm” thời biến động, George Clooney lấy quốc tịch Pháp: cơn sốt song tịch và cuộc siết cửa toàn cầu “Tới lượt Cuba chưa?”: Sau cú bắt Maduro, Havana run lên giữa bóng đen, mất phao dầu Venezuela và câu hỏi ám ảnh Venezuela và lời nguyền mang tên dầu mỏ : Một thế kỷ dầu mỏ – giàu có, đổ nát, và cuộc mặc cả quyền lực sau Maduro
“Mặt Trái Vinh Quang”: Ba Năm Lính Nghĩa Vụ Và Những Điều Không Có Trong Sách Giáo Khoa Ai Làm Mất Miền Nam? Khi Sự Thật Khó Nuốt Hơn Một Lời Kết Tội Hoa Kỳ Tổng Thương Mại 801 Tỷ USD: Một Con Số Đẹp Và Cái Bẫy Tự Hào Nguy Hiểm
Móng Cái – “Cửa Ngõ Rửa Xuất Xứ”: Việt Nam Đứng Giữa Ba Thế Kẹt Khi Mỹ Siết Thuế Hàng Đội Lốt Bánh Tét Giữa Mùa Đông: Một Cái Tết Dương Lịch Mà Nghe Như Tết Quê Nhà Năm 2025: Cười ra nước mắt, tức không nói nên lời
Nga nô độc tới đâu, thực tế bẽ tới đó: 10 cú “tiên tri” trượt vỏ chuối Nguyên nhân rùng rợn sau lượng kiều hối kỷ lục chuyển về Sài Gòn Vì sao dân Hồi giáo nghèo không đổ về Vùng Vịnh, mà lại tìm đường sang Âu–Mỹ?
Tướng Nga thiệt mạng vì bom gài dưới gầm xe ở Moscow Tự tử vì bị Trump trục xuất Mỹ bán gói vũ khí 11,1 tỷ USD cho Đài Loan: HIMARS, drone cảm tử và lời cảnh cáo từ Bắc Kinh
Hàn Quốc xin “vé” vào CLB tàu ngầm hạt nhân: Trump gật đầu, nhưng cái giá là gì? Số người gốc Việt sống chui ở nước ngoài tăng lên mức kỷ lục 517.000 người Vì sao “vượt biển” của họ Hồ là cứu nước, còn vượt biển của dân Việt sau 1975 là “Cali, đu càng”?
Con trai người lính VNCH hôm nay là Captain Hải quân Mỹ và Giáo sư tại Walter Reed Chính quyền Trump muốn trục xuất khoảng 100.000 người gốc Việt khỏi Mỹ Dân Việt Nam làm mờ biển số xe khiến AI của Công An không biết đường nào mà phạt
Công dân Mỹ cũng có thể bị ICE bắt nhầm: ‘Xứ tự do’ và nỗi sợ gõ cửa lúc nửa đêm Khi CIA mù tịt, còn một tướng VNCH đã nhìn ra trước Kinh tế Trung Quốc kẹt giữa lạm phát và giảm phát
Hàng Tàu phá vây thuế quan, Trump khoe kinh tế A+++ và chiếc ví rỗng của người Mỹ Nguyễn Cao Kỳ, cái chết bất ngờ và bài học đắt giá về ‘hòa hợp hòa giải’ Trung Quốc siết cổ doanh nghiệp Việt: Cuộc xâm lược thương mại ngay trên sân nhà
Mỹ đuổi thẳng tay nếu chửi Mỹ trên Facebook Hòa bình mong manh cho Ukraine: Kế hoạch 20 điểm, sức ép từ Trump và bài toán bầu cử giữa làn đạn Fed cắt lãi suất lần thứ ba liên tiếp: Powell “phanh gấp”, túi tiền người Mỹ thay đổi ra sao?
IKEA khai trương cửa hàng đầu tiên ở New Zealand: Người Kiwi xếp hàng từ tờ mờ sáng Nước Mỹ không dung dưỡng kẻ vô ơn: Tị nạn, di dân và cơn giận của Donald Trump Dư âm Giáng Sinh Sài Gòn xưa: Từ mùa sao sáng đến thánh ca buồn
Lê Duẩn – Mao Trạch Đông và cái giá “lá chắn phương Nam” của Việt Nam Trung Quốc hủy 540.000 vé sang Nhật: Đòn răn đe hay cú “tự bắn vào chân”? Trump xóa bỏ tiêu chuẩn nhiên liệu thời Biden
Mỹ đã hiểu sai tham vọng của Đảng Cộng sản Trung Quốc và đánh giá thấp sự quyết liệt tàn nhẫn của họ Tị nạn, thẻ xanh, visa du học cùng bị “khóa cửa” Khi bia Mexico gặp búa trừng phạt di trú của Trump: Cú ngã đau của đế chế Modelo – Corona
Biển số 37.77: Thông điệp ngầm của Thủ tướng Nhật Takaichi Sanae gửi Bắc Kinh Quốc tịch Mỹ: Tường thành gần như tuyệt đối cho người nhập tịch Con gái Hà Nội, giọt nước dưới mặt lá
Những tay giang hồ miền Nam: huyền thoại, bóng tối và cái giá phải trả Huỳnh Điều – “anh lớp Ba” mà Cộng sản sợ cái miệng hơn sợ khẩu M.79 Tiếng súng 9 giờ sáng ở Florida và hành trình cuối của nữ deputy Terri Sweeting-Mashkow
“Giang sơn” nào được sắp xếp, và sắp xếp cho ai? Sau 40 tuổi, khuôn mặt là “bản lý lịch” của tâm hồn Siêu biệt phủ trăm tỷ của Chủ tịch phường Hải Phòng: “Đại Lộc Thiên tử” giữa làng nghèo
Từ vụ sạc 24 giờ ở Mỹ đến chết yểu ở Ấn Độ: VinFast và câu hỏi dành cho người Việt Khi chú Hòa xây nhà bình dân: những kiệt tác âm thầm giữa lòng Sài Gòn Việt Nam – Xứ sở của những người bị bắt phải học nghề đói
Mailisa bị bắt và ký ức đôi vợ chồng ăn chay đi chùa Đi Hàn, đi Nhật rồi nhìn lại Việt Nam: yêu nước đâu chỉ nói trên môi Nepal – Đất nước sống ở năm 2082 giữa trái tim Himalaya
Nicholas Winton – Người hùng thầm lặng cứu 669 đứa trẻ khỏi bóng đen Đức Quốc Xã Bi kịch giáo sư Yoshihiro Sato: khi dữ liệu đẹp đổi lấy danh dự và cái chết Sự ngu dốt của bọn có học – từ Nguyễn Huy Thiệp đến thời những lời nói lật ngược sự thật
Việt kiều về nước mua vé business, không ngờ bị Việt Cộng đẩy xuống ngồi hạng bét, nguyên nhân thật hãi hùng Đàn ông Việt ở Mỹ vs đàn ông ở Việt Nam: rửa chén hay rửa… cái tôi? Bách chiến kiêu hùng, ông gốc Việt đi chiến xa giữa lòng nước Mỹ
Ra phi trường rồi mới biết không xuất cảnh được, lý do thật bất ngờ ở 'thiên đường' Việt Cộng “Tôi sẽ tiếp tục vận động đòi tự do”: Derek Trần gửi thông điệp Giáng sinh cho TNLT Việt Nam Little Saigon dậy sóng
Những nguyên nhân khiến Chiến dịch của quân đội thất bại lật đổ Thế Lực Hưng Yên Châu Âu tỉnh giấc muộn: “Nếu chiến tranh tới trong 3–5 năm, ta đã sẵn sàng chưa?” Từ sân khấu thành chiến tuyến, một cái tên, một cơn sóng: “Trump Kennedy Center” và buổi diễn Giáng Sinh bị hủy phút chót
Trump kiện BBC đòi 10 tỷ đô: đòn dằn mặt báo chí hay cuộc chiến danh dự thật sự? Ba người hùng đã mãi mãi ngã xuống khi ra tay ngăn chặn 2 tên khủng bố ở bải biển Bondi, Úc Mỹ tràn ngập người thất nghiệp, năm tệ nhất từ sau đại dịch
Tiền ảo nhà Trump mất sạch giá trị, Melania coin mất 99%, bong bóng cổ phiếu sụp đổ và bài toán “nước Mỹ giàu lắm” Ford thắng lớn với xe xăng, “để đó” xe điện – và vì sao giấc mơ xe tí hon giá rẻ vẫn xa tầm tay người Mỹ Little Saigon Landmark Seattle: “Ngôi nhà neo đậu” mới cho cộng đồng người Việt
Boba & Beans – Quán ăn Việt thắp hương quê giữa trung tâm Meriden Bellaire Market District 100 triệu USD: ‘Chợ 3 Miền’ đưa Little Saigon Houston bước sang trang mới Hà Nội xếp hàng thẳng tắp: khi camera AI dạy lại văn hoá đèn đỏ
Tổng thống ‘Hòa Bình’ và những biên giới đỏ lửa: Thái–Miên, Pakistan–Afghanistan và vở kịch giải thưởng cho Trump Chernobyl lại báo động đỏ: Lá chắn thép 2,1 tỷ euro bị drone đánh thủng, IAEA cảnh báo mất chức năng an toàn Paris lại đăng quang, Bangkok đông nghẹt, Viêng Chăn vẫn lặng lẽ: Bản đồ du lịch 2025 giữa kỷ lục mới và những góc bình yên
Trump Thắng Lớn Trong Cuộc Chiến ‘Bãi Nhiệm Không Cần Lý Do Vì Sao Tôi Chống Trump: Từ Nước Mắt Trong ICU Đến Chiếc Ô Đỏ MAGA Và Trò Hề ‘Giải Hòa Bình’ Từ Okinawa đến màn hình điện thoại: Trung Quốc leo thang quân sự, siết kiểm soát số và cuộc chiến bóng ma quanh Đài Loan
Cú quay đầu của lá phiếu Latino: từ ‘kỳ tích’ Trump 2024 đến khối cử tri dao động nhất nước Mỹ Cộng đồng Somali ở Minnesota đứng dậy giữa bão trục xuất Trung Quốc ăn cắp máy quang khắc bất thành – vì sao ‘đốt cháy giai đoạn’ trong ngành chip là chuyện bất khả?

 
Lên đầu Xuống dưới Lên 3000px Xuống 3000px

iPad Videos Portal Autoscroll

VietBF Music Portal Autoscroll

iPad News Portal Autoscroll

VietBF Homepage Autoscroll

VietBF Video Autoscroll Portal

USA News Autoscroll Portall

VietBF WORLD Autoscroll Portal

Home Classic

Super Widescreen

iPad World Portal Autoscroll

iPad USA Portal Autoscroll

Phim Bộ Online

Tin nóng nhất 24h qua

Tin nóng nhất 3 ngày qua

Tin nóng nhất 7 ngày qua

Tin nóng nhất 30 ngày qua

Albums

Total Videos Online
Lên đầu Xuống dưới Lên 3000px Xuống 3000px

Tranh luận sôi nổi nhất 7 ngày qua

Tranh luận sôi nổi nhất 14 ngày qua

Tranh luận sôi nổi nhất 30 ngày qua

10.000 Tin mới nhất

Tin tức Hoa Kỳ

Tin tức Công nghệ
Lên đầu Xuống dưới Lên 3000px Xuống 3000px

Super News

School Cooking Traveling Portal

Enter Portal

Series Shows and Movies Online

Home Classic Master Page

Donation Ủng hộ $3 cho VietBF
Lên đầu Xuống dưới Lên 3000px Xuống 3000px
Diễn Đàn Người Việt Hải Ngoại. Tự do ngôn luận, an toàn và uy tín. Vì một tương lai tươi đẹp cho các thế hệ Việt Nam hãy ghé thăm chúng tôi, hãy tâm sự với chúng tôi mỗi ngày, mỗi giờ và mỗi giây phút có thể. VietBF.Com Xin cám ơn các bạn, chúc tất cả các bạn vui vẻ và gặp nhiều may mắn.
Welcome to Vietnamese American Community, Vietnamese European, Canadian, Australian Forum, Vietnamese Overseas Forum. Freedom of speech, safety and prestige. For a beautiful future for Vietnamese generations, please visit us, talk to us every day, every hour and every moment possible. VietBF.Com Thank you all and good luck.

Lên đầu Xuống dưới Lên 3000px Xuống 3000px

All times are GMT. The time now is 05:55.
VietBF - Vietnamese Best Forum Copyright ©2005 - 2026
User Alert System provided by Advanced User Tagging (Pro) - vBulletin Mods & Addons Copyright © 2026 DragonByte Technologies Ltd.
Log Out Unregistered

Page generated in 0.11943 seconds with 13 queries