HOME-Au
HOME-Au
24h
24h
USA
USA
GOP
GOP
Phim Bộ
Phim Bộ
Videoauto
VIDEO-Au
Home Classic
Home Classic
Donation
Donation
News Book
News Book
News 50
News 50
worldautoscroll
WORLD-Au
Breaking
Breaking
 

Go Back   VietBF > Other News|Tin Khác > Mobile News|Tin Di Động


Reply
 
Thread Tools
  #1  
Old  Default iPhone 7 sẽ thay đổi hoàn toàn màn hình hiển thị?
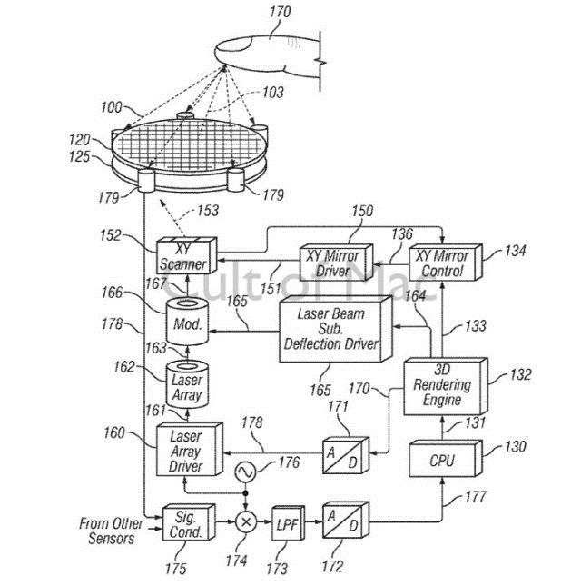
Các thế hệ sản phẩm iPhone, iPad tiếp theo của Apple rất có thể sẽ có màn hình hiển thị ba chiều cảm ứng theo một bằng sáng chế mới vừa được công bố của hãng.


Công nghệ màn hình mới của Apple sẽ cho người dùng trải nghiệm hình ảnh 3D như trong phim Star Wars.

Bằng sáng chế này sẽ thay đổi giao diện cảm ứng dựa trên vật lý đang được áp dụng hiện nay cho iPhone và máy tính bảng. Những hình ảnh nổi ba chiều 3-D sẽ được tạo ra bằng cách sử dụng chùm ánh sáng. Apple sẽ sử dụng một ống kính tạo thành từ nhiều ống kính micro để làm chệch hướng ánh sáng laser ở các góc độ khác nhau nhằm tạo ra một ảo ảnh quang học ba chiều.



Photo: Apple/USPTO

Chế độ cảm ứng sẽ được kích hoạt khi một chùm tia bị gián đoạn bởi một ngón tay hoặc bút stylus, và thông tin của các chuyển động này sẽ biến thành dữ liệu để điều khiển hoạt động của máy. Bằng sáng chế thiết bị hiển thị ba chiều tương tác này của Apple được nộp lần đầu tiên vào đầu năm 2011 do đó khả năng thiết bị này đang trong giai đoạn nghiên cứu là rất cao.

Tuy nhiên vẫn có nguy cơ bằng sáng chế này sẽ không bao giờ xuất hiện trên một thiết bị hoàn chỉnh trong tương lai gần vì công nghệ hiện nay vẫn chưa đáp ứng tốt các yêu cầu đề ra trong bằng sáng chế.

Theo TGDĐ/Cultofmac
VIETBF Diễn Đàn Hay Nhất Của Người Việt Nam

HOT NEWS 24h

HOT 3 Days

NEWS 3 Days

HOT 7 Days

NEWS 7 Days

HOME

Breaking News

VietOversea

World News

Business News

Car News

Computer News

Game News

USA News

Mobile News

Music News

Movies News

History

Thơ Ca

Sport News

Stranger Stories

Comedy Stories

Cooking Chat

Nice Pictures

Fashion

School

Travelling

Funny Videos

Canada Tin Hay

USA Tin Hay

VietBF Homepage Autoscroll

VietBF Video Autoscroll Portal

Home Classic

Home Classic Master Page



vuitoichat
R11 Tuyệt Thế Thiên Hạ
Release: 10-01-2014
Reputation: 370372


Profile:
Join Date: Jan 2008
Posts: 148,999
Last Update: None Rating: None
Attached Thumbnails
Click image for larger version

Name:	20141001144427-3d.jpg
Views:	0
Size:	34.3 KB
ID:	666721   Click image for larger version

Name:	20141001144346-man-hinh-1.jpg
Views:	0
Size:	38.9 KB
ID:	666722   Click image for larger version

Name:	20141001144346-man-hinh-2.jpg
Views:	0
Size:	52.3 KB
ID:	666723  

vuitoichat_is_offline
Thanks: 11
Thanked 14,100 Times in 11,261 Posts
Mentioned: 3 Post(s)
Tagged: 1 Thread(s)
Quoted: 44 Post(s)
Rep Power: 184
vuitoichat Reputation Uy Tín Level 10vuitoichat Reputation Uy Tín Level 10vuitoichat Reputation Uy Tín Level 10vuitoichat Reputation Uy Tín Level 10vuitoichat Reputation Uy Tín Level 10
vuitoichat Reputation Uy Tín Level 10vuitoichat Reputation Uy Tín Level 10vuitoichat Reputation Uy Tín Level 10vuitoichat Reputation Uy Tín Level 10
Reply

User Tag List

Thread Tools

Chiến lược an ninh mới của Trump: Hạ giọng với Trung Quốc, đặt cược tất tay vào kinh tế và lá bài Đài Loan Kho ảnh mới từ dinh thự Jeffrey Epstein: Bóng dáng giới quyền lực và cuộc đấu Trump – Quốc hội Mỹ Cây chổi cho Donald Trump
Nước Mỹ Trump đang kéo châu Âu đi đâu? Nền kinh tế chữ K: 79 ngàn tỷ đô bị “ăn cắp” khỏi túi người lao động Mỹ Khi Trump “đại tu” FEMA và tấn công các cơ quan độc lập
Ukraine đánh thẳng vào “cây ATM năng lượng” của Nga, NATO cảnh báo: chiến tranh đã ở ngay trước cửa Tyler Robinson lần đầu trực tiếp xuất hiện trước tòa: Vụ ám sát Charlie Kirk và câu hỏi về thù hận chính trị ở nước Mỹ Chính quyền Trump chính thức mở trang mạng để bán "thẻ vàng định cư"
Ba người Việt bị ICE bắt ở New Orleans: Từ giấc mơ Mỹ đến nguy cơ bị trục xuất Hai anh em sinh đôi trở về Việt Nam tìm mẹ ruột sau 24 năm và người mẹ Mỹ mang trái tim Bồ Tát Cuối năm phố tắt đèn: Cơn sóng trả mặt bằng và tiếng thở dài của tiểu thương
Tin đồn ông Nguyễn Xuân Phúc xin qua Mỹ định cư: Tấm thẻ đảng và cánh cửa di trú Hoa Kỳ Netflix tung đòn 28 USD/cổ phiếu: Trận quyết đấu cuối cùng của ‘chiến tranh streaming’? Cơn sốc 50.000 USD: Mua xe mới ở Mỹ sắp thành xa xỉ phẩm?
Làn sóng hủy show Nhật Bản ở Trung Quốc: Khi chính trị tắt đèn sân khấu Mãn kinh – chương đời bị bỏ quên của một nửa nhân loại Cuộc họp nội các thật hỗn loạn của ông Trump
Miền Trung chết đuối trong hai chữ “đúng quy trình” Nhật Bản thời Takaichi: Khi Tokyo thôi “hiền lành” và trở thành đối trọng cứng rắn với Bắc Kinh Từ lũ dữ miền Trung đến “Công ước Hà Nội”: Khi khế ước xã hội bị xé bỏ
Phú Yên không còn quan tài: Tiếng khóc giữa đại hồng thủy và những chuyến xe chở tình người Mafia công nghệ 4.0: Từ vụ Alice Guo đến cuộc cạnh tranh quyền lực ngầm ở Đông Nam Á Người đàn ông mang trạm sạc đến nối lại tin tức giữa vùng lũ
“Lũ nhân tạo” ở Việt Nam: Khi dòng sông bị bẻ cong vì thủy điện Đêm 19-11 và tiếng kêu giữa lũ dữ: Khi “đúng quy trình” nhấn chìm niềm tin của dân Lời nói dối “người Mỹ không làm việc này” và cái giá của cả một quốc gia
Đức dựng lại “đạo quân mạnh nhất châu Âu”: Tham vọng của Merz và nỗi lo nghĩa vụ quân sự Thích Trí Quang: Từ “vì đạo pháp và dân tộc” đến 44 năm im lặng Khi Bắc Kinh dọa “chặt đầu” bà đầm thép Sanae Takaichi
Trump hô tội “phản loạn, xử tử hình” 6 dân biểu Dân Chủ: chính trường Mỹ trượt sát lằn ranh bạo lực Ukraine giữa gọng kìm: Kế hoạch hòa bình của Trump và bóng ma drone Rubicon trên bầu trời chiến tranh Kinh tế Mỹ “chạy hết ga, nhưng ghế trống”: Nỗi lo suy thoái không việc làm dưới thời Trump
Hai thẩm phán liên bang chặn lệnh Trump “bóp cổ” ngân sách cứu trợ thiên tai để ép bỏ DEI và hỗ trợ di trú Đêm lũ cuốn trôi Camp Mystic: từ bức vẽ ám ảnh của bé Lulu đến 27 sinh mạng nhỏ bị bỏ rơi Từ cái chết Pamela Genini đến bóng tối đè lên phụ nữ Ý dưới thời Giorgia Meloni

 
Lên đầu Xuống dưới Lên 3000px Xuống 3000px

iPad Videos Portal Autoscroll

VietBF Music Portal Autoscroll

iPad News Portal Autoscroll

VietBF Homepage Autoscroll

VietBF Video Autoscroll Portal

USA News Autoscroll Portall

VietBF WORLD Autoscroll Portal

Home Classic

Super Widescreen

iPad World Portal Autoscroll

iPad USA Portal Autoscroll

Phim Bộ Online

Tin nóng nhất 24h qua

Tin nóng nhất 3 ngày qua

Tin nóng nhất 7 ngày qua

Tin nóng nhất 30 ngày qua

Albums

Total Videos Online
Lên đầu Xuống dưới Lên 3000px Xuống 3000px

Tranh luận sôi nổi nhất 7 ngày qua

Tranh luận sôi nổi nhất 14 ngày qua

Tranh luận sôi nổi nhất 30 ngày qua

10.000 Tin mới nhất

Tin tức Hoa Kỳ

Tin tức Công nghệ
Lên đầu Xuống dưới Lên 3000px Xuống 3000px

Super News

School Cooking Traveling Portal

Enter Portal

Series Shows and Movies Online

Home Classic Master Page

Donation Ủng hộ $3 cho VietBF
Lên đầu Xuống dưới Lên 3000px Xuống 3000px
Diễn Đàn Người Việt Hải Ngoại. Tự do ngôn luận, an toàn và uy tín. Vì một tương lai tươi đẹp cho các thế hệ Việt Nam hãy ghé thăm chúng tôi, hãy tâm sự với chúng tôi mỗi ngày, mỗi giờ và mỗi giây phút có thể. VietBF.Com Xin cám ơn các bạn, chúc tất cả các bạn vui vẻ và gặp nhiều may mắn.
Welcome to Vietnamese American Community, Vietnamese European, Canadian, Australian Forum, Vietnamese Overseas Forum. Freedom of speech, safety and prestige. For a beautiful future for Vietnamese generations, please visit us, talk to us every day, every hour and every moment possible. VietBF.Com Thank you all and good luck.

Lên đầu Xuống dưới Lên 3000px Xuống 3000px

All times are GMT. The time now is 07:58.
VietBF - Vietnamese Best Forum Copyright ©2005 - 2025
User Alert System provided by Advanced User Tagging (Pro) - vBulletin Mods & Addons Copyright © 2025 DragonByte Technologies Ltd.
Log Out Unregistered

Page generated in 0.12947 seconds with 13 queries